
我們專業做異形模具和異形塑料件
開模不成功,退還全部開模費
全國咨詢熱線:
13932815220
13932815220










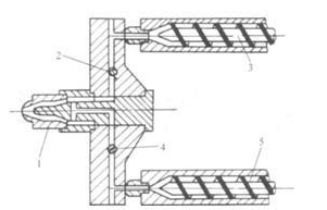
注塑生產中,所謂雙色注塑成型,是指將兩種不同色澤的塑料注入同一模具的成型方法。它能使塑件出現兩種不同的顏色,并能使塑件呈現有規則的圖案或無規則的云紋狀花色,以提高塑件的實用性和美觀性。 雙混色注塑成型 注塑加工廠家生產中,如下圖所示為雙混色注

注塑加工廠做塑料注塑件也越來越多,塑料件生產的企業也是越來越多。在進行注塑件進行注塑加工時,對其外觀又有哪些分外要求呢?我們一起來總結下看看;1.塑料件外部色彩須按及格樣品規范或書面要求制作,批次色差不明顯 ,光澤度一致性強。2.外露的面不可以有顯眼劃痕和創痕,能擦拭去的除外。3.注塑車間

注塑件缺陷的特征:注塑塑料制品過程不完全,因為模腔沒有填滿塑料或注塑過程缺少某些細節。可能出現問題的原因:(1).塑料制品廠在生產過程中注塑速度不足。(2).塑料短缺。(3).螺桿在行程結束處沒留下螺桿墊料。(4).運行時間變化。(5).射料缸溫度太低。(6).注塑壓力不足。(7).射嘴部分
HOTLINE
聯系人:史經理
HOTLINE
微信\電話:13932815220
ADDRESS
地址:河北省深州市大屯鎮孤城工業區